Open Inventor Release 2026.1.0
 
Loading...
Searching...
No Matches
SoROI Class Reference

Large Data Management Region of Interest (subvolume) node. More...

#include <LDM/nodes/SoROI.h>

+ Inheritance diagram for SoROI:

Public Types

enum  Flags {
  ENABLE_X0 = 0x1 ,
  ENABLE_Y0 = 0x2 ,
  ENABLE_Z0 = 0x4 ,
  INVERT_0 = 0x8 ,
  ENABLE_X1 = 0x10 ,
  ENABLE_Y1 = 0x20 ,
  ENABLE_Z1 = 0x40 ,
  INVERT_1 = 0x80 ,
  ENABLE_X2 = 0x100 ,
  ENABLE_Y2 = 0x200 ,
  ENABLE_Z2 = 0x400 ,
  INVERT_2 = 0x800 ,
  OR_SELECT = 0x1000 ,
  INVERT_OUTPUT = 0x2000 ,
  SUB_VOLUME = ENABLE_X0 | ENABLE_Y0 | ENABLE_Z0 ,
  EXCLUSION_BOX = SUB_VOLUME | INVERT_OUTPUT ,
  CROSS = ENABLE_X0 | ENABLE_Y0 | ENABLE_Y1 | ENABLE_Z1 | ENABLE_X2 | ENABLE_Z2 | OR_SELECT ,
  CROSS_INVERT = CROSS | INVERT_OUTPUT ,
  FENCE = ENABLE_X0 | ENABLE_Y1 | ENABLE_Z2 | OR_SELECT ,
  FENCE_INVERT = FENCE | INVERT_OUTPUT
}
 Flag value mask. More...
 

Public Member Functions

virtual SoType getTypeId () const
 Returns the type identifier for this specific instance.
 
 SoROI ()
 Constructor.
 
- Public Member Functions inherited from SoNode
virtual void setOverride (const SbBool state)
 Turns the override flag on or off.
 
virtual SbBool isOverride () const
 Returns the state of the override flag.
 
virtual SoNodecopy (SbBool copyConnections=FALSE) const
 Creates and returns an exact copy of the node.
 
virtual SbBool affectsState () const
 Returns TRUE if a node has an effect on the state during traversal.
 
virtual void touch ()
 Marks an instance as modified, simulating a change to it.
 
- Public Member Functions inherited from SoFieldContainer
void setToDefaults ()
 Sets all fields in this object to their default values.
 
SbBool hasDefaultValues () const
 Returns TRUE if all of the object's fields have their default values.
 
SbBool fieldsAreEqual (const SoFieldContainer *fc) const
 Returns TRUE if this object's fields are exactly equal to fc's fields.
 
void copyFieldValues (const SoFieldContainer *fc, SbBool copyConnections=FALSE)
 Copies the contents of fc's fields into this object's fields.
 
SoNONUNICODE SbBool set (const char *fieldDataString)
 Sets one or more fields in this object to the values specified in the given string, which should be a string in the Open Inventor file format.
 
SbBool set (const SbString &fieldDataString)
 Sets one or more fields in this object to the values specified in the given string, which should be a string in the Open Inventor file format.
 
void get (SbString &fieldDataString)
 Returns the values of the fields of this object in the Open Inventor ASCII file format in the given string.
 
virtual int getFields (SoFieldList &list) const
 Appends references to all of this object's fields to resultList, and returns the number of fields appended.
 
virtual int getAllFields (SoFieldList &list) const
 Returns a list of fields, including the eventIn's and eventOut's.
 
virtual SoFieldgetField (const SbName &fieldName) const
 Returns a the field of this object whose name is fieldName.
 
virtual SoFieldgetEventIn (const SbName &fieldName) const
 Returns a the eventIn with the given name.
 
virtual SoFieldgetEventOut (const SbName &fieldName) const
 Returns the eventOut with the given name.
 
SbBool getFieldName (const SoField *field, SbName &fieldName) const
 Returns the name of the given field in the fieldName argument.
 
SbBool enableNotify (SbBool flag)
 Notification at this Field Container is enabled (if flag == TRUE) or disabled (if flag == FALSE).
 
SbBool isNotifyEnabled () const
 Notification is the process of telling interested objects that this object has changed.
 
virtual void setUserData (void *data)
 Sets application data.
 
void * getUserData (void) const
 Gets user application data.
 
- Public Member Functions inherited from SoBase
virtual SbName getName () const
 Returns the name of an instance.
 
virtual void setName (const SbName &name)
 Sets the name of an instance.
 
void setSynchronizable (const bool b)
 Sets this to be a ScaleViz synchronizable object.
 
bool isSynchronizable () const
 Gets the ScaleViz synchronizable state of this object.
 
- Public Member Functions inherited from SoRefCounter
void ref () const
 Adds a reference to an instance.
 
void unref () const
 Removes a reference from an instance.
 
void unrefNoDelete () const
 unrefNoDelete() should be called when it is desired to decrement the reference count, but not delete the instance if this brings the reference count to zero.
 
int getRefCount () const
 Returns current reference count.
 
void lock () const
 lock this instance.
 
void unlock () const
 unlock this instance.
 
- Public Member Functions inherited from SoTypedObject
SbBool isOfType (const SoType &type) const
 Returns TRUE if this object is of the type specified in type or is derived from that type.
 
template<typename TypedObjectClass>
SbBool isOfType () const
 Returns TRUE if this object is of the type of class TypedObjectClass or is derived from that class.
 

Static Public Member Functions

static SoType getClassTypeId ()
 Returns the type identifier for this class.
 
- Static Public Member Functions inherited from SoNode
static SoType getClassTypeId ()
 Returns the type identifier for this class.
 
static SoNodegetByName (const SbName &name)
 A node's name can be set using SoBase::setName().
 
static int getByName (const SbName &name, SoNodeList &list)
 A node's name can be set using SoBase::setName().
 
- Static Public Member Functions inherited from SoFieldContainer
static SoType getClassTypeId ()
 Returns the type of this class.
 
- Static Public Member Functions inherited from SoBase
static SoType getClassTypeId ()
 Returns type identifier for this class.
 
- Static Public Member Functions inherited from SoTypedObject
static SoType getClassTypeId ()
 Returns the type identifier for this class.
 

Public Attributes

SoSFInt32 dataSetId
 Specifies which SoVolumeData node to use.
 
SoSFBox3i32 box
 Specifies the bounds of the region of interest.
 
SoSFBitMask flags
 Specifies how the bounds of the box are used.
 
SoSFBox3i32 subVolume
 Specifies the bounds of the subvolume that will be rendered.
 
SoSFBool relative
 Specifies whether the box bounds are relative to the subvolume or the full volume (i.e., are specified in absolute slice coordinates).
 

Detailed Description

Large Data Management Region of Interest (subvolume) node.

The ROI ("region of interest") node allows you to specify a sub-region of the volume that will be rendered. Voxels within the ROI are rendered; voxels outside the ROI are not rendered. This provides a simple and very efficient form of volume clipping (much more efficient than using SoClipPlane nodes).

The SoVolumeData node on which the ROI will be applied can be specified with dataSetId. When this field is set to 0, the last SoVolumeData node on state is used.

In addition, for large volumes that cannot be fully loading into CPU and/or GPU memory, SoROI can improve both data loading performance and image quality. VolumeViz will always try to load the highest resolution data possible for the voxels inside the region defined by the ROI. VolumeViz is not required to load data in tiles that are completely outside the ROI. VolumeViz may load tiles outside the ROI if there is sufficient memory (this is useful in cases where the user can move or resize the ROI). But in general, for large volumes, using SoROI reduces the amount of data that must be loaded and increases image quality for the voxels inside the ROI.

Note that the above discussion only applies in multi-resolution mode (the default). In fixed resolution mode (see SoLDMResourceParameters::fixedResolution), VolumeViz will try to load all the tiles in the volume at the specified resolution level regardless of the SoROI settings.

The ROI can be a simple box (default) or a complex shape defined by (up to) three box shapes (X, Y, and Z slabs) and logic flags that specify how the slabs are to be combined.

SoROI is commonly used with an opaque color map to provide a "volume probe" in seismic data applications. However it is useful with any kind of volume data to limit the data displayed and to improve loading and image quality as discussed above.

The box and subVolume fields are specified in voxel coordinates. The limits are included in the ROI. A value of 0,0,0 0,0,0 (min and max) in the subVolume field means that this field should be ignored. This is the default.

This node acts on the rendering shape nodes of VolumeViz (SoVolumeRender, SoOrthoSlice, SoObliqueSlice, SoVolumeSkin, etc.)

To define a simple ROI, set the limits of the ROI in the box field (and do not set the subVolume field). The same result is obtained by setting the box and subVolume fields to the same value, but this is not necessary. But note that the default ROI box is not automatically the full volume. You must initialize the ROI box to something, for example the volume dimensions minus one.

// Initialize ROI box to full volume
SoVolumeData* volData = new SoVolumeData();
. . .
SoROIManip* roiManip = new SoROIManip();
roiManip->box.setValue( SbVec3i32(0,0,0), volData->data.getSize() - SbVec3i32(1,1,1) );
root->addChild( roiManip );
3D vector class.
Definition SbVec.h:1517
<a href="IconLegend.html"><img src="extLDM.gif" alt="Large Data Management" border="0"></a> Manipula...
Definition SoROIManip.h:108
const SbVec3i32 & getSize() const
Returns the dimensions of the array.
Definition SoSFArray.h:263
<a href="IconLegend.html"><img src="extVR.gif" alt="VolumeViz" border="0"></a> Volume data property ...
SoSFArray3D data
Specifies the volume data, including dimensions, data type and number of significant bits.

For a complex ROI, the region defined by the SoROI box field always acts upon the region defined by the SoROI subVolume field, not the entire volume. For example, in EXCLUSION_BOX mode, the visible portion of the volume is the subVolume region minus the box region. You are allowed to set the box region larger than (or completely outside) the subVolume region, but only the intersection of the two regions is significant.

You can also use the convenient manipulator class SoROIManip to allow your users to interactively move and resize the region of interest.

The figures below show the subVolume field used to limit the visible portion of the volume (left) and the ROI used as an "exclusion box" to cut away part of the subvolume (right).

Example: box field used to limit visible portion of the volume

Example: box field + subVolume field used as an exclusion box

The Crop Box and Cropping Process.

The crop box is defined by three sets of parallel planes that define three slabs:

  • The xmin and xmax planes define the X slab.
  • The ymin and ymax planes define the Y slab.
  • The zmin and zmax planes define the Z slab.

After these three planes have been specified, cropping is done in four stages.

Stage 1 determines which voxels to include relative to one or more of the slabs. Classification can be enabled or disabled relative to the X slab, Y slab, or Z slab. This classification is performed three separate times, resulting in three terms: Term 0, Term 1, and Term 2. Each term has its own logic flags that enable the three slabs, independent of the other terms. The flags are as follows:

  • Enable or disable classification relative to the X slab.
  • Enable or disable classification relative to the Y slab.
  • Enable or disable classification relative to the Z slab.

Stage 2 determines whether to invert the values obtained in Stage 1 so that the voxels outside a slab are selected. This determination is made for each of the terms (Term 0, Term 1, Term 2). As in Stage 1, each term has its own inversion flag and is independent of the other terms.

Stage 3 creates either the union or the intersection of Term 0, Term 1, and Term 2. This is specified using a logic flag.

Stage 4 determines whether to invert the result of Stage 3 and provides the final ROI. Again, the inversion (if any) is specified using a logic flag.

Example of Cropping Process

(Figures courtesy Real Time Visualization)

The following example will show you how the cropping process works.

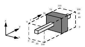
Start with a volume that is 100x200x100 (x, y, z). The final cropped shape will be the union of a 20x200x20 bar and a 100x25x100 box.

Here is the initial volume:

Here is the bar:

The bar can be formed in Term 0 of Stage 1 by using the intersection of the X and Z slabs, each with min and max values set to 40 and 60, respectively.

Here is the box:

The box can be formed in Term 1 of Stage 1 by using just the Y slab, with min and max values set to 125 and 150.

Term 2 of Stage 1 can be set to be identical to Term 0 or Term 1, or it can be set to include no samples by setting no enable flags (no slabs selected, so entire volume is selected) and setting the invert flag of Stage 2 so that the entire volume is deselected. To get the union of these terms in Stage 3, OR_SELECT is set. That results in the desired cropping, so Stage 4, in which the results are inverted, is not used.

Here is the code to set the box dimensions and the logic flags:

SoROI* myROI = new SoROI();
int xmin = 40; int xmax = 60;
int ymin = 125; int ymax = 150;
int zmin = 40; int zmax = 60;
myROI->box.setValue( xmin, ymin, zmin, xmax, ymax, zmax );
SoSFBitMask flags
Specifies how the bounds of the box are used.
Definition SoROI.h:349
SoROI()
Constructor.
@ ENABLE_Y1
Enable cropping with Y slab for term 1 (stage 1)
Definition SoROI.h:367
@ INVERT_2
Invert result for this term 2 (stage 2)
Definition SoROI.h:380
@ OR_SELECT
Stage 3: If set, the result is the union (OR) of term 0, term 1, and term 2.
Definition SoROI.h:386
@ ENABLE_X0
Enable cropping with X slab for term 0 (stage 1)
Definition SoROI.h:356
@ ENABLE_Z0
Enable cropping with Z slab for term 0 (stage 1)
Definition SoROI.h:360
SoSFBox3i32 box
Specifies the bounds of the region of interest.
Definition SoROI.h:343
void setValue(const SbBox3i32 &newValue)
Sets this field to newValue.

Here is the resulting complex crop box:

Additional Examples

Example 1: flags = SUB_VOLUME

   Alternate setting:flags = ENABLE_X0 | ENABLE_Y1 | ENABLE_Z2

Example 2: flags = FENCE

   Alternate setting:flags = ENABLE_X0 | ENABLE_Y1 |
                             ENABLE_Z2 | OR_SELECT

Example 3: flags = FENCE

   Note that example 2 and 3 have the same flags set;
   but in example 2, xmin, ymin, and zmin values are set to zero. Setting its xmax,
   ymax, and zmax values to the maximum value produces a similar crop.

Example 4: flags = FENCE_INVERT

   Alternate setting:flags = ENABLE_X0 |
                             ENABLE_Y1 | ENABLE_Z2 | OR_SELECT | INVERT_OUTPUT

Example 5: flags = CROSS

   Alternate setting:flags = ENABLE_X0 | ENABLE_Y0 |
                             ENABLE_Y1 | ENABLE_Z1 | ENABLE_X2 | ENABLE_Z2 | OR_SELECT

Example 6: flags = CROSS_INVERT

   Alternate setting:flags = CROSS | INVERT_OUTPUT

FILE FORMAT/DEFAULT

    ROI {
    dataSetId 0
    subVolume 0, 0, 0, 0, 0, 0
    box 0, 0, 0, 1, 1, 1
    flags 7
    relative FALSE
    }

    LIMITATIONS Only one ROI per volume data can be used at same time.

SEE ALSO

SoVolumeRender, SoOrthoSlice, SoObliqueSlice, SoROIManip

ACTION BEHAVIOR

Member Enumeration Documentation

◆ Flags

Flag value mask.

Enumerator
ENABLE_X0 

Enable cropping with X slab for term 0 (stage 1)

ENABLE_Y0 

Enable cropping with Y slab for term 0 (stage 1)

ENABLE_Z0 

Enable cropping with Z slab for term 0 (stage 1)

INVERT_0 

Invert result for this term 0 (stage 2)

ENABLE_X1 

Enable cropping with X slab for term 1 (stage 1)

ENABLE_Y1 

Enable cropping with Y slab for term 1 (stage 1)

ENABLE_Z1 

Enable cropping with Z slab for term 1 (stage 1)

INVERT_1 

Invert result for this term 1 (stage 2)

ENABLE_X2 

Enable cropping with X slab for term 2 (stage 1)

ENABLE_Y2 

Enable cropping with Y slab for term 2 (stage 1)

ENABLE_Z2 

Enable cropping with Z slab for term 2 (stage 1)

INVERT_2 

Invert result for this term 2 (stage 2)

OR_SELECT 

Stage 3: If set, the result is the union (OR) of term 0, term 1, and term 2.

If clear, the result is the intersection (AND) of the three terms

INVERT_OUTPUT 

Stage 4: If enabled, the result of stage 4 (union or intersection) is inverted as the last step in cropping

SUB_VOLUME 

Convenient enums.

EXCLUSION_BOX 
CROSS 
CROSS_INVERT 
FENCE 
FENCE_INVERT 

Definition at line 354 of file SoROI.h.

Constructor & Destructor Documentation

◆ SoROI()

SoROI::SoROI ( )

Constructor.

Member Function Documentation

◆ getClassTypeId()

static SoType SoROI::getClassTypeId ( )
static

Returns the type identifier for this class.

◆ getTypeId()

virtual SoType SoROI::getTypeId ( ) const
virtual

Returns the type identifier for this specific instance.

Reimplemented from SoNode.

Reimplemented in SoROIManip.

Member Data Documentation

◆ box

SoSFBox3i32 SoROI::box

Specifies the bounds of the region of interest.

If subVolume is non-empty, the box is clamped at the bounds of the subvolume. Depending on the relative field, the bounds may be relative to the subvolume. Default is an (essentially) empty box.

Definition at line 343 of file SoROI.h.

◆ dataSetId

SoSFInt32 SoROI::dataSetId

Specifies which SoVolumeData node to use.

This is useful when datasets of different dimensions are present in the scene graph. Please see SoMultiDataSeparator for more details.

When set to 0, the last SoVolumeData node on state is used. Default is 0.

NOTE: field available since Open Inventor 10.11.0

Definition at line 335 of file SoROI.h.

◆ flags

SoSFBitMask SoROI::flags

Specifies how the bounds of the box are used.

Default is SUB_VOLUME. The region of interest is the box itself.

Definition at line 349 of file SoROI.h.

◆ relative

SoSFBool SoROI::relative

Specifies whether the box bounds are relative to the subvolume or the full volume (i.e., are specified in absolute slice coordinates).

TRUE means that if the subvolume is non-empty, moving the subvolume through the volume also moves the ROI box through the volume. Default is FALSE.

Definition at line 415 of file SoROI.h.

◆ subVolume

SoSFBox3i32 SoROI::subVolume

Specifies the bounds of the subvolume that will be rendered.

By default, it is an empty box and has no effect. The subvolume is always a simple box.

Definition at line 407 of file SoROI.h.


The documentation for this class was generated from the following file: